
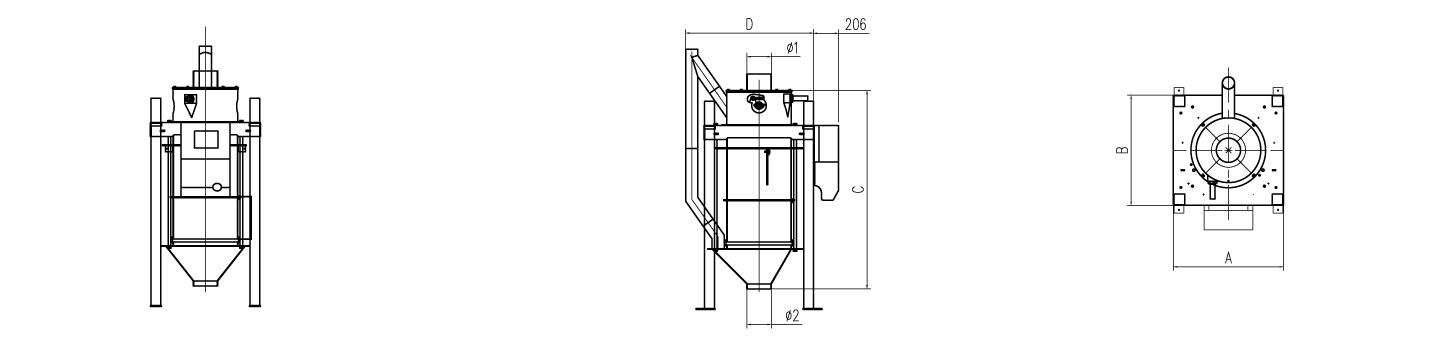
This LOSS-IN-WEIGHT SCALE is feeding composed of a rack, feeding mechanism, weighing hopper, continuous discharging device, servo motor, load cells and control system. It is designed for precise flow metering and continuous feeding of granular materials such as wheat, corn, soybeans, plastic particles and pelleted feeds. The system supports continuous weighing and flexible flow adjustment to meet various quantitative requirements. Featuring a compact structure with a specialized arc feeding gate and servo control, it offers low installation height, high capacity, and easy operation and maintenance. The weighing instrument provides rich data display and supports Profibus communication for real-time monitoring and reporting.

| Model | Density (kg/L) | Volume (L) | Capacity (t/h) | Accuracy (%) | Air Pressure (MPa) | Air Consumption (L/h) | Scale Type |
| SZC-50 | 0.75 | 50 | 8–12 | ±0.5 | 0.5–0.6 | 1200 | Hopper |
| SZC-100 | 0.75 | 100 | 12–20 | ±0.5 | 0.5–0.6 | 1200 | Hopper |
| SZC-150 | 0.75 | 150 | 20–40 | ±0.5 | 0.5–0.6 | 1200 | Hopper |
| SZC-200 | 0.75 | 200 | 40–60 | ±0.5 | 0.5–0.6 | 1200 | Hopper |
| SZC-250 | 0.75 | 250 | 60–80 | ±0.5 | 0.5–0.6 | 1200 | Hopper |